HABD - Bahir Dar Ginbot Haya International Airport
Located in Bahir Dar, Ethiopia
ICAO - HABD, IATA - BJR
Data provided by AirmateGeneral information
Coordinates: N11°36'23" E37°19'11"
Elevation is 6023 feet MSL.
View others Airports in Amara
Operational data
Special qualification required
Current time UTC:
Current local time:
Communications frequencies: [VIEW]
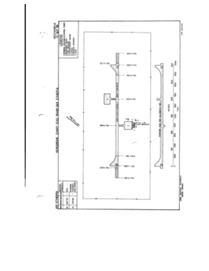
Runways:
| RWY identifier | QFU | Length (ft) | Width (ft) | Surface | LDA (ft) |
| 04 | 42° | 9843 | 148 | PEM | |
| 22 | 222° | 9843 | 148 | PEM |
Airport contact information
Address: Bahir Dar Ethiopia



